Systemy gaśnicze wodne Wskaźnik ścienny IPW
Wskaźnik ścienny IPW
Wskaźnik ścienny IPW przeznaczony jest do stosowania w instalacjach przeciwpożarowych wodnych i wodno-pianowych, w których wymagane jest zdalne monitorowanie położenia zaworu typu PIF lub PIG. Urządzenie to umożliwia wizualną kontrolę stanu zaworu – otwarty lub zamknięty – bez konieczności bezpośredniego dostępu do zaworu, co znacząco ułatwia inspekcję i obsługę systemu przeciwpożarowego.
Wskaźnik IPW montowany jest bezpośrednio na ścianie budynku, najczęściej w pobliżu zaworu odcinającego znajdującego się po drugiej stronie przegrody lub wewnątrz obiektu. Mechaniczne połączenie wskaźnika z wrzecionem zaworu umożliwia wierne odwzorowanie jego położenia, a umieszczony na obudowie czytelny wskaźnik wskazuje aktualny stan. Obudowa urządzenia wykonana jest z trwałego żeliwa sferoidalnego, natomiast jego powierzchnie zabezpieczone są powłoką epoksydową, co zapewnia wysoką odporność na warunki atmosferyczne i korozję.
Montaż urządzenia odbywa się przy użyciu standardowego mocowania kołnierzowego i obejmuje regulację długości trzpienia, co pozwala na precyzyjne dopasowanie wskaźnika do instalacji. Dzięki przemyślanej konstrukcji, możliwe jest łatwe ustawienie punktu odniesienia do poziomu terenu lub wysokości zaworu, a mechanizm wskaźnikowy nie wymaga zasilania ani dodatkowej obsługi.
Wskaźnik ten stosowany jest wszędzie tam, gdzie zawór znajduje się w trudno dostępnym miejscu, a konieczne jest jego bieżące monitorowanie, na przykład w zewnętrznych instalacjach hydrantowych, przejściach przez ściany techniczne lub ogrodzenia. Solidna konstrukcja i intuicyjna obsługa sprawiają, że urządzenie to stanowi niezawodny element systemu kontroli zaworów przeciwpożarowych.

Montaż
Uwaga! Przed przystąpieniem do montażu wskaźnika należy upewnić się, że zawór pod wskaźnikiem znajduje się w pozycji całkowicie otwartej.
- Percer le mur: W ścianie należy zrobić otwór przelotowy o średnicy przynajmniej 120 mm (4,7”), jednak nie większy niż 180 mm (7,1”). Otwór przelotowy musi być w rozstawie osiowym, koncentryczny względem nakrętki sterującej pracą zaworu pod wskaźnik.*
 - Wywiercić otwory montażowe: Przy użyciu wiertła 3/4” (19 mm) wywiercić w ścianie 4 równo rozstawione otwory na planie okręgu o średnicy 267 mm (10,5”). Okrąg musi być koncentryczny, w rozstawie osiowym, względem nakrętki sterującej pracą zaworu pod wskaźnik.
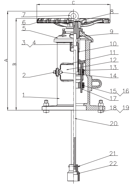
 - Zamontować naścienny wskaźnik pozycji: Za pomocą 4 śrub (18 i 19) przymocować do ściany kołnierz korpusu (1) wskaźnika.
 - Zdjąć pokrywę: Po przymocowaniu śrubami kołnierza korpusu (1) do ściany należy zdjąć pokrywę (5), odkręcając dwie śruby (4) i nakrętki (3). Zsunąć pokrywę (5) z korpusu (1) wskaźnika.
 - Wsunąć i zmierzyć trzpień: Przed zamontowaniem pokrywy (5) na korpus (1), wsunąć trzpień (20), zawleczkę (21) oraz nasadę (22) przez korpus (1) wskaźnika i przez otwór w ścianie tak, by nasadka (22) weszła całkowicie w nakrętkę sterującą pracą zasuwy z trzpieniem niewznoszącym. Kiedy nasadka (22) zostanie przymocowana do nakrętki sterującej pracą zasuwy NRS, należy oznaczyć trzpień (20) na wysokości 32 mm (1,25”) poniżej górnej powierzchni korpusu (1), jednak nie wyżej niż 50 mm (2”) nad górną powierzchnią korpusu.
 - Przyciąć trzpień: Przyciąć trzpień na wysokości oznaczenia wykonanego w punkcie 5.
 - Wyregulować tarcze wskaźnika: Ustawić tarcze „open” (13) w taki sposób, by były one dobrze scentrowane w okienku wizjera (12), kiedy zawór pod wskaźnikiem jest w pozycji całkowicie otwartej. Powtórzyć tę procedurę z tarczami „shut” (13), gdy zawór pod wskaźnikiem jest w pozycji całkowicie zamkniętej. Ustawienia dokonuje się poprzez odkręcanie śruby z łbem sześciokątnym (15) i nakrętki (16).
 - Ponownie złożyć wskaźnik: Nałożyć pokrywę (5) z powrotem na korpus (1) w taki sposób, by skrzydełka na obydwu stronach nakrętki tarczy weszły w rowki na wewnętrznych krawędziach korpusu (1). Dokręcić dwie nakrętki (3) i śruby (4). Używając kółka ręcznego (6) w celu całkowitego otwarcia i zamknięcia zaworu pod wskaźnikiem, upewnić się, że tarcze „open” i „shut” (13) znajdują się we właściwym miejscu. Jeżeli to konieczne, ponownie wyregulować odpowiednie elementy.
 
*W celu zabezpieczenia otworu przelotowego można zastosować odcinek rury DN100/4” (114,3 mm średnicy zewnętrznej). Rura tej średnicy będzie dobrze pasowała do obrobionego otworu od strony kołnierza korpusu (1) naściennego wskaźnika pozycji zaworu.
Charakterystyka
- Wskaźnik pozycji otwartej i zamkniętej
 - Używany do sterowania zaworami pod wskaźnik
 - Kołnierz podstawy o średnicy zewnętrznej 12” pozwala na montaż na ścianie
 - Sterowanie za pomocą kółka ręcznego
 - Powłoka epoksydowa wewnątrz i na zewnątrz w kolorze czerwonym RAL3000
 - Dostarczany z trzpieniem o długości 1m
 - Nadaje się do zaworów o wielkości od 2”/DN50 do 16”/DN400
 
Konserwacja (smarowanie)
Łożysko w korpusie (1) smarować przynajmniej raz w roku poprzez wpuszczenie kilku kropel smaru do otworu umieszczonego na górze nakrętki sterującej (10).

| Parametr | Wartość | 
|---|---|
| Zgodność | Zawory o średnicy od DN50 do DN400 | 
| Obsługa | Ręczna - za pomoca pokrętła | 



- Aprobata FM Global
 - Wykaz UL (UL Listing)
 - Krajowa Ocena Techniczna CNBOP-PIB: CNBOP-PIB-KOT-2021/0284-1005 wydanie 1
 - Krajowy Certyfikat Stałości Właściwości Użytkowych: 063-UWB-0402
 - Krajowa Deklaracja Stałości Właściwości Użytkowych: 2022-0303g
 - Deklaracja zgodności: VK/0505/2016/PL
 



